天合環境科技
聯系人:王經理
聯系電話:13276363312
客服QQ:2934797297
公司郵箱:2934797297@qq.com
公司地址:山東省濰坊市高新區光電路155號光電產業加速器(一期)

聯系人:王經理
聯系電話:13276363312
客服QQ:2934797297
公司郵箱:2934797297@qq.com
公司地址:山東省濰坊市高新區光電路155號光電產業加速器(一期)

一、森林氣象站產品簡介
森林火災是森林生態系統的大敵,它能在很短時間內,燒毀大面積的森林和大量的林副產品,破壞林分結構和森林環境,破壞自然界生態平衡,造成氣候失調,水土流失,河流淤塞,洪水泛濫或水源枯竭。通過監測容易發生森林火災區域的風速風向、空氣的溫度、相對濕度、太陽輻射等氣象因子,可以對預防森林大火的發生,在發生大火時也可以指導工作人員進行快速合理的滅火工作,使財產損失降到低點。
該設備由氣象傳感器,采集器,太陽能供電系統,立桿支架,云平臺五部分組成。免調試,可快速布置,廣泛運用于氣象、農業、林業、環保、海洋、機場、港口、科學考察、校園教育等領域。
二、森林氣象站產品特點
1、低功耗采集器:靜態功耗小于50uA
2、標配GPRS聯網、支持擴展藍牙、有線傳輸
3、7寸安卓觸屏,版本:4.4.2、四核Cortex?-A7,512M/4G
4、支持modbus485傳感器擴展
5、太陽能充電管理MPPT自動功率點跟蹤
6、三米碳鋼支架,兩節法蘭盤對接
7、短信報警,超限后向指定的手機上發送短信
8、ABS材質防護箱,耐腐蝕、抗氧化,防水等級IP66
三、森林氣象站技術參數
名 稱 | 測量范圍 | 分 辨 率 | 準 確 度 |
環境溫度 | -50~+100℃ | 0.1℃ | ±0.5℃ |
相對濕度 | 0~100%RH | 0.1% | ±3% RH |
風 向 | 0~360°(16方向) | 1° | ±5° |
風 速 | 0~60m/s | 0.1m/s | ±(0.3+0.03V)m/s |
雨 量 | ≦4mm/min | 0.2mm | ±0.4mm |
光照強度 | 0-200000Lux | 1Lux | ±2% |
大氣壓力 | 10~1100hPa | 0.1hPa | ±0.3hPa |
土壤溫度 | -50~+80℃ | 0.1℃ | ±0.5℃ |
土壤濕度 | 0~100% | 0.1% | ±3%RH |
二氧化碳 | 0-5000PPM | 1PPM | ±40PPM±讀數的3% |
可以根據用戶需求拓展配置:日照時數、蒸發量傳感器、露點溫度傳感器、紫外線輻射傳感器、光合輻射傳感器等各種氣象要素傳感器。
可加裝LED顯示屏(交流電供電),大小可調,實時采集到的氣象數據及其他設定的信息。
供電系統
市電/太陽能/多電源供電系統可選
通訊系統
RS485、USB、無線GPRS、以太網等通訊方式
專用支架
安裝防護箱、傳感器、供電電源、通訊設備等
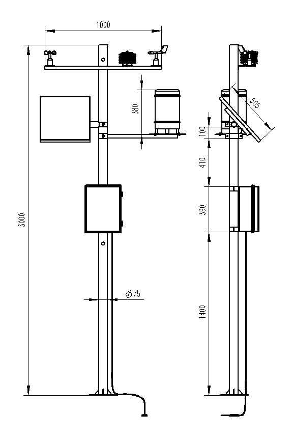
四、森林氣象站產品尺寸圖

五、森林氣象站產品結構圖

六、森林氣象站上位機軟件介紹
1、PC單機版數據接收、存儲、查看、分析軟件
2、支持串口數據接收、處理、展示
3、支持json字符串、modbus485等通信方式
4、可自設置存儲時間,modbus485采集模式下可自設置采集時間
5、支持自助增加、刪除、修改監測參數的協議、名稱、圖標等
6、支持數據后處理功能
7、支持外置運行javascript腳本
七、森林氣象站安卓APP介紹
1、安卓單機版數據接收、存儲、查看、分析軟件
2、支持藍牙數據接收
3、手機休眠后軟件后臺接收、處理
4、json數據自動添加設備,modbus設備支持掃碼添加設備
5、支持歷史數據查看、分析、導出表格,支持曲線展示、單數據點查看。
6、支持數據后處理功能
7、支持外置運行javascript腳本
八、森林氣象站云平臺介紹
1、CS架構軟件平臺,支持手機、PC瀏覽器直接觀測、無需額外安裝軟件。
2、支持多帳號、多設備登錄
3、支持實時數據展示與歷史數據展示儀表板
4、云服務器、云數據存儲,穩定可靠,易于擴展,負載均衡。
5、支持短信報警及閾值設置
6、支持地圖顯示、查看設備信息。
7、支持數據曲線分析
8、支持數據導出表格形式
9、支持數據轉發,HJ-212協議,TCP轉發,http協議等。
10、支持數據后處理功能
11、支持外置運行javascript腳本
在光伏組件的檢測工作中,手持式IV測試儀(型號TH-IV1)是一種常用的便捷工具。它能幫助工作人員快速檢測光伏組件的IV曲線,了解組件的性能狀況。
孢子測報系統(型號TH-BZ1)專門監測空氣中的病蟲害孢子,能持續追蹤孢子動態,讓種植人員在病蟲害出現前做好準備,為農業生產提供防護支持。
管式土壤墑情監測系統?(型號TH-GTS系列)是專門用來監測土壤水分的一種工具,尤其適用于農業生產。該系統通過管式探頭嵌入土壤,實時測量土壤的水分含量。它的作用是幫助農民合理調節灌溉,避免土壤過干或過濕,保證作物的正常生長。
能見度監測站(型號TH-NJD系列)通過精準的測量技術,幫助監控能見度變化,保障惡劣天氣條件下的交通安全。
在湖泊、水庫、河流等自然水域中,藍綠藻的生長情況會影響水質。如果藍綠藻大量繁殖,可能會導致水體富營養化,產生有害物質,影響水生生物生存和人們的用水安全。水質藍綠藻傳感器(型號TH-S16S)就是用來監測水中藍綠藻含量的設備。
一套完善的雨污水管網監測方案,核心在于搭建專業的雨污水管網水質監測系統(型號TH-GSZ系列),通過智能化手段實時掌握管網水質狀態,為管網管理和水環境治理提供數據支撐。